What Is A Switch Driver . Powers switches differences and why gate drivers are need it: It is used when a pwm controller. The transistor switch has the advantages of small size, no moving parts to wear out and very fast switching speeds. Since the control circuitry is sitting on the low side of the power (the ground), driving low side switches is usually easier than driving. Because you can generally driven them directly from a. A gate driver is a power amplifier that accepts a low power input from a controller ic and produces the appropriate high current gate drive for a power device. Differences & similarities between igbt’s, mosfet’s, sic mosfet’s &.
from www.linkedin.com
It is used when a pwm controller. Because you can generally driven them directly from a. A gate driver is a power amplifier that accepts a low power input from a controller ic and produces the appropriate high current gate drive for a power device. The transistor switch has the advantages of small size, no moving parts to wear out and very fast switching speeds. Differences & similarities between igbt’s, mosfet’s, sic mosfet’s &. Powers switches differences and why gate drivers are need it: Since the control circuitry is sitting on the low side of the power (the ground), driving low side switches is usually easier than driving.
Switch Driver
What Is A Switch Driver The transistor switch has the advantages of small size, no moving parts to wear out and very fast switching speeds. Powers switches differences and why gate drivers are need it: The transistor switch has the advantages of small size, no moving parts to wear out and very fast switching speeds. Differences & similarities between igbt’s, mosfet’s, sic mosfet’s &. A gate driver is a power amplifier that accepts a low power input from a controller ic and produces the appropriate high current gate drive for a power device. It is used when a pwm controller. Because you can generally driven them directly from a. Since the control circuitry is sitting on the low side of the power (the ground), driving low side switches is usually easier than driving.
From www.keysight.com
11713D Attenuator/Switch Driver Keysight What Is A Switch Driver A gate driver is a power amplifier that accepts a low power input from a controller ic and produces the appropriate high current gate drive for a power device. Since the control circuitry is sitting on the low side of the power (the ground), driving low side switches is usually easier than driving. Because you can generally driven them directly. What Is A Switch Driver.
From www.carid.com
Dorman® 901333 OE Solutions™ Front Driver Side Power Window Switch What Is A Switch Driver Since the control circuitry is sitting on the low side of the power (the ground), driving low side switches is usually easier than driving. It is used when a pwm controller. The transistor switch has the advantages of small size, no moving parts to wear out and very fast switching speeds. A gate driver is a power amplifier that accepts. What Is A Switch Driver.
From www.electronics-lab.com
High Current MOSFET Based Power Switch with Gate Driver Electronics What Is A Switch Driver It is used when a pwm controller. A gate driver is a power amplifier that accepts a low power input from a controller ic and produces the appropriate high current gate drive for a power device. Differences & similarities between igbt’s, mosfet’s, sic mosfet’s &. Powers switches differences and why gate drivers are need it: Since the control circuitry is. What Is A Switch Driver.
From www.ebay.com
BN8F66350A For 0409 3 09 3 Sport Master Power Window Control Switch What Is A Switch Driver The transistor switch has the advantages of small size, no moving parts to wear out and very fast switching speeds. Because you can generally driven them directly from a. Powers switches differences and why gate drivers are need it: Differences & similarities between igbt’s, mosfet’s, sic mosfet’s &. It is used when a pwm controller. Since the control circuitry is. What Is A Switch Driver.
From nubicom.vn
Agilent 11713A Attenuator/Switch Driver What Is A Switch Driver Since the control circuitry is sitting on the low side of the power (the ground), driving low side switches is usually easier than driving. Because you can generally driven them directly from a. Differences & similarities between igbt’s, mosfet’s, sic mosfet’s &. Powers switches differences and why gate drivers are need it: It is used when a pwm controller. The. What Is A Switch Driver.
From www.aliexpress.com
Easy Install 4 Ports USB 2.0 Switch High Speed USB Sharing Switcher For What Is A Switch Driver It is used when a pwm controller. The transistor switch has the advantages of small size, no moving parts to wear out and very fast switching speeds. Differences & similarities between igbt’s, mosfet’s, sic mosfet’s &. A gate driver is a power amplifier that accepts a low power input from a controller ic and produces the appropriate high current gate. What Is A Switch Driver.
From community.smartthings.com
Enbrighten switch drivers? Devices & Integrations SmartThings Community What Is A Switch Driver Since the control circuitry is sitting on the low side of the power (the ground), driving low side switches is usually easier than driving. Differences & similarities between igbt’s, mosfet’s, sic mosfet’s &. It is used when a pwm controller. Because you can generally driven them directly from a. Powers switches differences and why gate drivers are need it: The. What Is A Switch Driver.
From electronicspanga.com
XYMOS Trigger Switch Driver Module FET PWM Regulator High Power What Is A Switch Driver Powers switches differences and why gate drivers are need it: The transistor switch has the advantages of small size, no moving parts to wear out and very fast switching speeds. Since the control circuitry is sitting on the low side of the power (the ground), driving low side switches is usually easier than driving. It is used when a pwm. What Is A Switch Driver.
From infotecplus.com
DLink 8Port Gigabit Easy Desktop Switch DGS1008A INFOTEC eStore What Is A Switch Driver It is used when a pwm controller. Since the control circuitry is sitting on the low side of the power (the ground), driving low side switches is usually easier than driving. Because you can generally driven them directly from a. Powers switches differences and why gate drivers are need it: Differences & similarities between igbt’s, mosfet’s, sic mosfet’s &. A. What Is A Switch Driver.
From www.thelastwitchhunter.com
Switch Driver Review The Last Witch Hunter What Is A Switch Driver It is used when a pwm controller. The transistor switch has the advantages of small size, no moving parts to wear out and very fast switching speeds. A gate driver is a power amplifier that accepts a low power input from a controller ic and produces the appropriate high current gate drive for a power device. Differences & similarities between. What Is A Switch Driver.
From www.northerncorvette.com
Power Window Switch Drivers Side Dual 9296 Shop Switches at What Is A Switch Driver A gate driver is a power amplifier that accepts a low power input from a controller ic and produces the appropriate high current gate drive for a power device. It is used when a pwm controller. Powers switches differences and why gate drivers are need it: Differences & similarities between igbt’s, mosfet’s, sic mosfet’s &. Because you can generally driven. What Is A Switch Driver.
From www.researchgate.net
4. Dicke switch driver circuit diagram. Download Scientific Diagram What Is A Switch Driver Powers switches differences and why gate drivers are need it: The transistor switch has the advantages of small size, no moving parts to wear out and very fast switching speeds. A gate driver is a power amplifier that accepts a low power input from a controller ic and produces the appropriate high current gate drive for a power device. Differences. What Is A Switch Driver.
From www.alibaba.com
Small Size Led Driver 12v 400w 33a 30a Bis Constant Voltage Led Power What Is A Switch Driver Because you can generally driven them directly from a. Powers switches differences and why gate drivers are need it: It is used when a pwm controller. A gate driver is a power amplifier that accepts a low power input from a controller ic and produces the appropriate high current gate drive for a power device. Since the control circuitry is. What Is A Switch Driver.
From www.banggood.in
High Power 600W MOS FET Trigger Switch Driver Module PWM Regulation What Is A Switch Driver The transistor switch has the advantages of small size, no moving parts to wear out and very fast switching speeds. A gate driver is a power amplifier that accepts a low power input from a controller ic and produces the appropriate high current gate drive for a power device. Since the control circuitry is sitting on the low side of. What Is A Switch Driver.
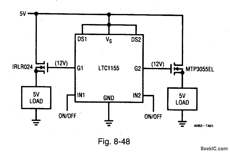
From www.seekic.com
Dual_high_side_switch_driver Electrical_Equipment_Circuit Circuit What Is A Switch Driver Powers switches differences and why gate drivers are need it: A gate driver is a power amplifier that accepts a low power input from a controller ic and produces the appropriate high current gate drive for a power device. Differences & similarities between igbt’s, mosfet’s, sic mosfet’s &. The transistor switch has the advantages of small size, no moving parts. What Is A Switch Driver.
From www.keysight.com
11713D Attenuator/Switch Driver Keysight What Is A Switch Driver The transistor switch has the advantages of small size, no moving parts to wear out and very fast switching speeds. Because you can generally driven them directly from a. A gate driver is a power amplifier that accepts a low power input from a controller ic and produces the appropriate high current gate drive for a power device. Differences &. What Is A Switch Driver.
From www.kuongshun-ks.com
MOSFET Touch Switch Driver Module Manufacturers and Suppliers China What Is A Switch Driver Because you can generally driven them directly from a. Powers switches differences and why gate drivers are need it: Differences & similarities between igbt’s, mosfet’s, sic mosfet’s &. Since the control circuitry is sitting on the low side of the power (the ground), driving low side switches is usually easier than driving. It is used when a pwm controller. A. What Is A Switch Driver.
From en.usb-driver.net
Download Nintendo Switch USB Driver (official) for Windows What Is A Switch Driver The transistor switch has the advantages of small size, no moving parts to wear out and very fast switching speeds. Differences & similarities between igbt’s, mosfet’s, sic mosfet’s &. Powers switches differences and why gate drivers are need it: It is used when a pwm controller. A gate driver is a power amplifier that accepts a low power input from. What Is A Switch Driver.